Toyota CH-R Manual de Taller: Ajuste

AJUSTE

PRECAUCIÓN / AVISO / OBSERVACIÓN

Los procedimientos necesarios (ajuste, calibración, inicialización o registro) que deben llevarse a cabo después de completar el procedimiento de alineación de las ruedas delanteras se muestran a continuación.

Procedimiento necesarios después de llevar a cabo un procedimiento

Pieza sustituida o procedimiento realizado

Procedimiento necesario

Efectos/funciones inoperativas cuando no se llevan a cabo los procedimientos necesarios

Vinculado

Alineación de las ruedas delanteras

  1. Borre los datos de calibración a cero.
  2. Lleve a cabo la calibración a cero del sensor de velocidad de derrape y aceleración.
  • Se almacenan los DTC
  • El indicador de advertencia ABS se enciende
  • Se enciende el indicador luminoso de deslizamiento
  • Avería o funcionamiento desactivado del VSC

PROCEDIMIENTO

1. INSPECCIONE LOS NEUMÁTICOS

Haga clic aquí

2. MIDA LA ALTURA DEL VEHÍCULO

AVISO:

  • Antes de revisar la alineación de las ruedas, ajuste la altura del vehículo según el valor especificado.
  • Lleve a cabo las mediciones en una superficie plana.
  • Si es necesario, colóquese debajo del vehículo para realizar una medición y asegúrese de que el freno de estacionamiento esté aplicado y que el vehículo esté inmovilizado con calces.
  • Realice la inspección con el vehículo vacío.
  • El valor estándar mostrado aquí es un valor que se utiliza para realizar la alineación de las ruedas y no indica la altura de un vehículo real.

(a) Ejerza presión varias veces en las esquinas del vehículo para lograr que rebote y así estabilizar la suspensión.

(b) Mida la altura del vehículo.

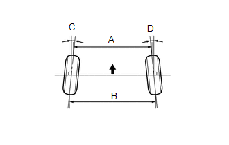
Puntos de medida:
  • A: Distancia libre al suelo del centro de la rueda delantera
  • B: Distancia libre al piso del subconjunto del brazo de la suspensión inferior delantero n° 1 x centro del perno de fijación del subconjunto del travesaño de la suspensión delantera
  • C: Distancia libre al suelo del centro de la rueda trasera
  • D: Distancia libre al suelo del conjunto del brazo inferior de la suspensión trasera n° 2 x perno de fijación del subconjunto del elemento de la suspensión central trasero

Altura del vehículo (vehículo sin carga):

Modelo

Parte delantera A - B

Parte trasera C - D

ZGX10L-AHXEPX

ZGX10L-AHXGPX

ZGX10L-AHXNPX

112 mm (4.41 pulg.)

33 mm (1.30 pulg.)

ZGX10L-BHXNPA

122 mm (4.80 pulg.)

43 mm (1.69 pulg.)

3. COMPRUEBE EL ÁNGULO DE CAÍDA, EL AVANCE DEL PIVOTE Y LA INCLINACIÓN DEL EJE DE DIRECCIÓN

AVISO:

Realice la inspección con el vehículo vacío.

(a) Instale un medidor de ángulo de caída y de avance del pivote de la dirección y coloque las ruedas delanteras en el centro de un medidor del radio de giro.

*a

Medidor del radio de giro

*b

Medidor de ángulo de caída y de avance del pivote de la dirección

(b) Inspeccione el ángulo de caída, el avance del pivote y la inclinación del eje de dirección.

Ángulo de caída (vehículo sin carga):

Modelo

Inclinación del ángulo de caída

Diferencia derecha-izquierda

ZGX10L-AHXEPX

ZGX10L-AHXGPX

ZGX10L-AHXNPX

0°06' +/- 0°45' (0.10° +/- 0.75°)

0°45' (0.75°) o menos

ZGX10L-BHXNPA

0°01' +/- 0°45' (0.02° +/- 0.75°)

0°45' (0.75°) o menos

Avance del pivote (vehículo sin carga):

Modelo

Inclinación del avance del pivote

Diferencia derecha-izquierda

ZGX10L-AHXEPX

ZGX10L-AHXGPX

ZGX10L-AHXNPX

6°36' +/- 0°45' (6.60° +/- 0.75°)

0°45' (0.75°) o menos

ZGX10L-BHXNPA

6°45' +/- 0°45' (6.75° +/- 0.75°)

0°45' (0.75°) o menos

Inclinación del eje de la dirección (vehículo sin carga):

Modelo

Referencia de inclinación del eje de dirección

ZGX10L-AHXEPX

ZGX10L-AHXGPX

ZGX10L-AHXNPX

13°49' (13.82°)

ZGX10L-BHXNPA

14°02' (14.03°)

4. AJUSTE EL ÁNGULO DE CAÍDA

AVISO:

Compruebe la convergencia después de ajustar el ángulo de caída.

(a) Extraiga la rueda delantera.

Haga clic aquí

(b) Extraiga las 2 tuercas de la parte inferior del conjunto del amortiguador delantero.

AVISO:

No extraiga los pernos.

(c) Extraiga los pernos de la parte superior e inferior de uno en uno y confirme que el pivote de la dirección se puede mover libremente en el conjunto del amortiguador delantero.

OBSERVACIÓN:

  • Vuelva a instalar cada perno después de extraerlo y de confirmar que el pivote de la dirección se puede mover.
  • Si el pivote de la dirección no se mueve libremente en el conjunto del amortiguador delantero, limpie las superficies de contacto del conjunto del amortiguador delantero y el pivote de la dirección.

(d) Instale provisionalmente las 2 tuercas. (Paso A)

(e) Empuje completamente el cubo del eje delantero o tire de él en la dirección en la que necesite realizar el ajuste. (Paso B)

(f) Apriete las 2 tuercas.

Torque:

270 N·m {2,753 kgf·cm, 199 ft·lbf}

AVISO:

Evite que los pernos giren al apretar las tuercas.

(g) Instale la rueda delantera.

Haga clic aquí

(h) Ejerza presión varias veces en las esquinas del vehículo para lograr que rebote y así estabilizar la suspensión.

(i) Inspeccione el ángulo de caída.

Ángulo de caída (vehículo sin carga):

Modelo

Inclinación del ángulo de caída

Diferencia derecha-izquierda

ZGX10L-AHXEPX

ZGX10L-AHXGPX

ZGX10L-AHXNPX

0°06' +/- 0°30' (0.10° +/- 0.50°)

0°45' (0.75°) o menos

ZGX10L-BHXNPA

0°01' +/- 0°30' (0.02° +/- 0.50°)

0°45' (0.75°) o menos

(1) Si el valor medido no se encuentra dentro del rango especificado, calcule la cantidad de ajuste necesaria mediante la fórmula siguiente.

Cantidad de ajuste del ángulo de caída = centro del rango especificado - valor medido

Compruebe la combinación de pernos instalados. Seleccione los pernos adecuados según las siguientes tablas para ajustar el ángulo de caída a los valores especificados.

OBSERVACIÓN:

Trate de ajustar el ángulo de caída al centro del valor especificado.

Para mover el cubo del eje hacia (+) en el paso B

Para mover el cubo del eje hacia (-) en el paso B

Consulte la tabla (1) (para mover el cubo del eje hacia el lado positivo)

Consulte la tabla (2) (para mover el cubo del eje hacia el lado negativo)

La carrocería y la suspensión del vehículo pueden resultar dañadas si no se ajusta correctamente el ángulo de caída de acuerdo con la tabla anterior.

AVISO:

Reemplace la tuerca por una nueva cuando cambie el perno.

(2) Tabla (1) (para mover el cubo del eje hacia el lado positivo)

*A

Tabla (1) (para mover el cubo del eje hacia el lado positivo)

*B

Combinación de pernos seleccionada

*a

Perno instalado

*b

Valor de ajuste

*c

Perno estándar

*d

90105-17009

*e

90105-17010

*f

90105-17011

(3) Tabla (2) (para mover el cubo del eje hacia el lado negativo)

*A

Tabla (2) (para mover el cubo del eje hacia el lado negativo)

*B

Combinación de pernos seleccionada

*a

Perno instalado

*b

Valor de ajuste

*c

Perno estándar

*d

90105-17009

*e

90105-17010

*f

90105-17011

(j) Si el ángulo de caída estaba desajustado en el paso anterior, lleve a cabo el procedimiento de ajuste del ángulo de caída mencionado anteriormente. En el paso A, sustituya los pernos existentes por los pernos seleccionados.

OBSERVACIÓN:

Cuando sustituya ambos pernos, hágalo de uno en uno.

5. COMPRUEBE LA CONVERGENCIA

AVISO:

Realice la inspección con el vehículo vacío.

(a) Ejerza presión varias veces en las esquinas del vehículo para lograr que rebote y así estabilizar la suspensión.

(b) Suelte el freno de estacionamiento y mueva la palanca de cambios en la posición N.

(c) Empuje el vehículo hacia delante unos 5 m (16.4 pi.). (Paso C)

(d) Coloque las marcas centrales de la banda de rodadura en los puntos situados más atrás de las ruedas delanteras y mida la distancia entre las marcas (dimensión B).

*a

Marcas centrales de la banda de rodadura

*b

Dimensión B

Parte delantera del vehículo

(e) Empuje lentamente el vehículo hacia delante para que las ruedas delanteras giren 180°. Utilice la válvula del neumático delantero como punto de referencia.

OBSERVACIÓN:

Impida que las ruedas giren más de 180°. Si las ruedas giran más de 180°, repita el procedimiento desde el Paso C.

(f) Mida la distancia entre las marcas centrales de la banda de rodadura de la parte delantera de las ruedas (dimensión A).

*a

Dimensión A

Parte delantera del vehículo

Convergencia (vehículo sin carga):

Modelo

Valor especificado

ZGX10L-AHXEPX

ZGX10L-AHXGPX

ZGX10L-AHXNPX

C + D: 0°06' +/- 0°10' (0.11° +/- 0.17°)

B - A: 1.3 +/- 2.0 mm (0.0512 +/- 0.0787 pulg.)

ZGX10L-BHXNPA

C + D: 0°07' +/- 0°10' (0.12° +/- 0.17°)

B - A: 1.4 +/- 2.0 mm (0.0551 +/- 0.0787 pulg.)

OBSERVACIÓN:

Mida "B - A" solo cuando no se puedan medir "C + D".

Si la convergencia no se encuentra dentro del rango especificado, ajústela en los extremos de la cremallera de la dirección.

6. AJUSTE LA CONVERGENCIA

(a) Asegúrese de que los extremos derecho e izquierdo de la cremallera de la dirección tengan aproximadamente la misma longitud de rosca.

Diferencia estándar:

1.5 mm (0.0591 pulg.) o menos

*a

Longitud de la rosca

(b) Extraiga los clips de la funda de la cremallera de la dirección.

(c) Afloje las contratuercas del subconjunto del extremo de la barra de acoplamiento.

(d) Ajuste los extremos de la cremallera de la dirección si la diferencia en la longitud de la rosca entre los extremos derecho e izquierdo de la cremallera de la dirección no está dentro del rango especificado.

(1) Si el valor de convergencia supera el rango especificado (demasiada divergencia), alargue el extremo más corto de la cremallera de forma que la diferencia de longitud esté dentro de los límites especificados.

(2) Si el valor de convergencia es inferior al rango especificado (demasiada convergencia), acorte el extremo más largo de la cremallera de forma que la diferencia de longitud esté dentro de los límites especificados.

(3) Mida la convergencia.

(e) Gire los extremos derecho e izquierdo de la cremallera de la dirección en la misma medida para ajustar la convergencia.

Convergencia (vehículo sin carga):

Modelo

Valor especificado

ZGX10L-AHXEPX

ZGX10L-AHXGPX

ZGX10L-AHXNPX

C + D: 0°06' +/- 0°05' (0.11° +/- 0.08°)

B - A: 1.3 +/- 1.0 mm (0.0512 +/- 0.0394 pulg.)

ZGX10L-BHXNPA

C + D: 0°07' +/- 0°05' (0.12° +/- 0.08°)

B - A: 1.4 +/- 1.0 mm (0.0551 +/- 0.0394 pulg.)

OBSERVACIÓN:

Lleve a cabo los ajustes necesarios para que el valor esté lo más cerca posible al medio del rango especificado.

Parte delantera del vehículo

(f) Asegúrese de que los extremos derecho e izquierdo de la cremallera de la dirección tengan la misma longitud de rosca.

(g) Apriete las contratuercas del subconjunto del extremo de la barra de acoplamiento.

Torque:

74 N·m {755 kgf·cm, 55 ft·lbf}

(h) Coloque las fundas de la cremallera de la dirección en los asientos e instale sus clips.

OBSERVACIÓN:

Asegúrese de que las fundas de la cremallera de la dirección no estén torcidas.

7. COMPRUEBE EL ÁNGULO DE LA RUEDA

(a) Coloque las marcas centrales de la banda de rodadura en los puntos situados más atrás de un medidor de radio de giro.

*a

Interior

*b

Exterior

Parte delantera del vehículo

(b) Gire el volante completamente a derecha y a la izquierda y mida el ángulo de giro.

AVISO:

Realice la inspección con el vehículo vacío.

Ángulo de giro de la rueda (vehículo sin carga):

Modelo

Interior de la rueda

Exterior de la rueda

ZGX10L-AHXEPX

ZGX10L-AHXGPX

ZGX10L-AHXNPX

39°30' +/- 2°00' (39.50° +/- 2.00°)

33°50' (33.83°)

ZGX10L-BHXNPA

39°15' +/- 2°00' (39.25° +/- 2.00°)

33°34' (33.57°)

  • Si los ángulos interiores de las ruedas derecha e izquierda no se encuentran dentro del rango especificado, revise y ajuste la longitud de los extremos derecho e izquierdo de la cremallera de la dirección.

8. ALINEE LAS RUEDAS DELANTERAS RECTAS HACIA ADELANTE

9. LLEVE A CABO LA CALIBRACIÓN DEL SENSOR DE VELOCIDAD DE DERRAPE Y ACELERACIÓN

Haga clic aquí

    Alineación De Las Ruedas Delanteras
    ...

    Alineación De Las Ruedas Traseras
    ...

    Otros materiales:

    Toyota CH-R Manual de Taller > Sistema De Iluminación: Circuito del interruptor de la luz de cortesía de las puertas
    DESCRIPCIÓN La ECU principal de la carrocería (ECU de la red múltiplex de la carrocería) detecta el estado del conjunto del interruptor de la luz de cortesía de la puerta. DIAGRAMA DE CONEXIONES PRECAUCIÓN / AVISO / OBSERVACIÓN AVISO: Antes de sustituir la ECU principal de la carroce ...

    Toyota CH-R Manual del propetario > Control de crucero con radar dinámico para todas las velocidades: Advertencia de aproximación (modo de control de distancia entre vehículos)
      Si su vehículo está demasiado cerca del vehículo que le precede y no es posible llevar a cabo una deceleración automática suficiente a través del control de crucero, la pantalla parpadeará y el avisador acústico sonará para alertar al conductor. Esta situación se produciría, po ...

    Toyota C-HR (AX20) 2023-2026 Manual del propetario

    Toyota CH-R Manual del propetario

    Toyota CH-R Manual de Taller

    © 2017-2026 www.tochres.com
    0.0096