Toyota CH-R Manual de Taller: Instalación

INSTALACIÓN

PROCEDIMIENTO

1. INSTALE EL SENSOR DEL AIRBAG DE LA POSICIÓN DEL ASIENTO

(a) Inserte el pasador en el orificio de colocación e instale provisionalmente el sensor del airbag de posición del asiento hacia el riel del asiento con el perno el soporte como se muestra en la ilustración.

*a

Pasador

*b

Orificio de instalación

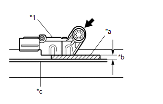
(b) Con una llave de cubo "TORX" T30 y una galga de espesores 1.3 mm (0.0512 pulg.) instale el sensor del airbag de posición del asiento con el perno "TORX".

Torque:

8.0 N·m {82 kgf·cm, 71 in·lbf}

AVISO:

  • Si el sensor de posición del airbag de asiento se ha caído al suelo, o si hay grietas, muescas u otros defectos en la caja o en el conector, sustituya el sensor de posición del airbag de asiento por otro nuevo.
  • Al instalar el sensor del airbag de posición del asiento, asegúrese de que el cableado del SRS no interfiera ni se quede atrapado entre otras piezas.

*1

Sensor de posición del airbag del asiento

*a

Galga de espesores

*b

1.3 mm (0.0512 pulg.)

*c

Soporte del carril del asiento

(c) Asegúrese de que el espacio libre entre el sensor de posición del asiento del airbag y el soporte del carril del asiento sea de 1.3 mm (0.0512 pulg.).

(d) Compruebe que las piezas instaladas del sensor del airbag de la posición del asiento no están flojas.

2. INSTALE EL PROTECTOR DEL SENSOR DE POSICIÓN DE DESLIZAMIENTO DEL ASIENTO

(a) Coloque el protector del sensor de posición del asiento hacia el riel del asiento y enganche el pasador del soporte en la parte de instalación del protector del sensor de posición del asiento.

*a

Soporte del carril del asiento

*b

Pasador

*c

Zona de instalación

Instale en esta dirección (1)

Instale en esta dirección (2)

(b) Conecte el conector y enganche la abrazadera.

3. INSTALE EL CONJUNTO DEL ASIENTO DELANTERO

Haga clic aquí

    Extracción
    EXTRACCIÓN PRECAUCIÓN / AVISO / OBSERVACIÓN A continuación se muestran los procedimientos necesarios (ajuste, calibración, inicialización o registro) que deben realizarse después de que se ...

    Sensor Del Airbag Delantero
    ...

    Otros materiales:

    Toyota CH-R Manual de Taller > Sistema De Inmovilizador (sin Sistema De Llave Inteligente): Anomalía del interruptor de advertencia de desbloqueo de la llave / del interruptor pulsador (B2780)
    DESCRIPCIÓN Este DTC se memoriza cuando el conjunto de la ECU de la llave transmisora no detecta que el conjunto del interruptor de advertencia de desbloqueo está activado, incluso cuando el conjunto del interruptor de encendido está en posición ON. N° de DTC Element ...

    Toyota CH-R Manual de Taller > Avisador Acústico Del Sistema De Alerta Del Tráfico Transversal Trasero: Instalación
    INSTALACIÓN PROCEDIMIENTO 1. INSTALE EL AVISADOR ACÚSTICO DEL SISTEMA DE SUPERVISIÓN DE PUNTO CIEGO (a) Conecte el conector. (b) Enganche la abrazadera para instalar el avisador acústico del sistema de supervisión de punto ciego. 2. COLOQUE LA CUBIERTA DE APERTURA DE LA CAJA DE FUSIBLES ...

    Toyota C-HR (AX20) 2023-2026 Manual del propetario

    Toyota CH-R Manual del propetario

    Toyota CH-R Manual de Taller

    © 2017-2026 www.tochres.com
    0.0124